微信公众号
手机网站
就业/招聘小程序
咨询电话: 010-66083178(工作日8:30-17:30) 请登录 注册
联系我们
联系人:王秀秀
010 -66083178
www.qxwq.org.cn 
北京市西城区广安门
内广义街5号广益大厦
大赛作品详情

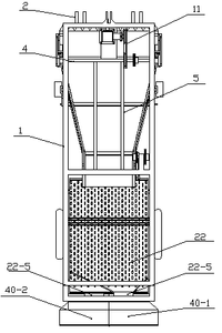
作品名称:平贝收获机
学校名称:东北林业大学
参赛队伍:追梦队
参赛学生:马川 吕涛伟 纪文文  
指导老师:林文树 周庆丰  

详细说明

   本产品涉及一种平贝收获机,属于农业机械技术领域。

   平贝是我国常用中药材,也是一种特色种植经济品种,平贝独特的药用价值和经济价值使得平贝种植产业发展迅猛。现今平贝的播种、收获和筛选都是依靠人工完成,通过利用镐、锹、簸箕、筛子等工具完成平贝的种植、采挖和筛选,存在劳动强度大、工作效率低、人工费用高、产品破损率高质量不稳定等问题。平贝在筛分过程中有许多平贝僵化根须堵塞筛分网,每一次筛分平贝土须用一人刷拨筛分网,筛分出的平贝撮到簸箕里,人工簸出部分平贝僵化小根须或分检一些杂物,操作繁琐,影响平贝土分离效率,同时使得平贝质量也不高。

    本产品所述平贝收获机,包括机架、挖掘装置、筛选装置,机架包括机架主体及固接在机架主体前端的牵引夹,所述挖掘装置固接在机架主体的前部,所述筛选装置固接在机架主体的后部,机架主体的前部还固接有变速器。

    本产品解决了现有的用于平贝收获的机械功耗大的问题,提高了产品质量,使平贝种植达到预期的经济效益。


找人才
千校人才小程序
找工作
万企岗位小程序
一键咨询
注册简历
查询
资料下载
返回顶部