微信公众号
手机网站
就业/招聘小程序
咨询电话: 010-66083178(工作日8:30-17:00) 请登录 注册
联系我们
联系人:王秀秀
010 -66083178
www.qxwq.org.cn 
北京市西城区广安门
内广义街5号广益大厦
大赛作品详情

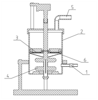
作品名称:微量润滑-全球首创纳米微润滑系统的领航者
学校名称:青岛滨海学院
参赛队伍:微量润滑
参赛学生:刘毅 赵祥玉  
指导老师:黄伟  

详细说明

目前,全球环境和资源能源紧缺问题已成为制约社会经济发展的主要因素之一,我国的经济发展模式还比较粗旷,资源浪费严重,节能减排指标主要是通过产业结构调整和设备改造实现的,这种办法具有时效性,而且投资大、周期长、见效慢,也不符合循环经济发展的规律,如在发展中通过政策引导循序推进实施,可极大降低投资成本。技术节能具有实效性,技术进步、技术创新是人类社会发展进步的永恒推动力,只有在技术、工艺、设备和材料的创新与应用上取得重大突破,才能实现生产生活方式的转变,既实现消费结构的转变,才能在较短的时间内推进节能降耗减排工作再上新台阶。因此温家宝总理在第十一届全国人民代表大会第一次会议的政府工作报告中提出,我国要在十一五期间实现"节能减排重大技术突破"。实施国家重大科技专项,努力攻克一批事关国计民生和国家安全的核心关键技术,开发和推广节约、替代、循环利用资源和治理污染的先进适用技术,实施节能减排重大技术和示范工程。

研究开发高效节能纳米润滑设备是社会发展的客观需要权威机构测算,世界能源的30-50%消耗在摩擦损失上,70%机械老化和失效由摩擦磨损引起,摩擦磨损问题被科技界认为是世界上最后一个没有被攻克的技术难题。能源对发展的制约引起了人们对摩擦学的关注,几十年来我国主要科研机构在摩擦学的各个领域已经取得了许多重要成果,特别在润滑理论研究方面已经取得了长足进展,但目前在润滑技术应用、节能抗磨剂研究、特别是工业应用方面尚有待突破。从人类开始大规模使用润滑产品的一百多年来,润滑产品从最早的"润滑""抗磨"再到现代的"极压抗磨"性能的变化,纳米润滑设备项目证明了人类社会的发展进步和润滑剂技术的发展提高过程。但近半个世纪以来润滑剂的硬指标"极压抗磨"性能始终没有较大的突破。润滑剂的"极压抗磨"性能是现代润滑剂的主要使用性能指标,润滑剂的"极压抗磨"性能提高,可以降低重负荷、高承载设备对提高润滑油粘度形成厚油膜提高承载负荷的依赖,降低润滑油粘度,减少流体阻力对动力的损耗。因而研究开发高效节能纳米润滑设备是社会经济发展的必然趋势。

找人才
千校人才小程序
找工作
万企岗位小程序
一键咨询
注册简历
查询
资料下载
返回顶部