微信公众号
手机网站
就业/招聘小程序
咨询电话: 010-66083178(工作日8:30-17:00) 请登录 注册
联系我们
联系人:王秀秀
010 -66083178
www.qxwq.org.cn 
北京市西城区广安门
内广义街5号广益大厦
大赛作品详情

作品名称:生产线守护者—智能哨卡
学校名称:山西晋中理工学院
参赛队伍:蒲公英计划
参赛学生:郭智伟 刘榕 胡军  
指导老师:张岩军 侯强  

详细说明
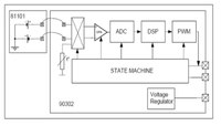
在当代高度工业化的生产环境中,保障生产线的安全高效运作占据着举足轻重的地位。鉴于全球范围内健康意识的显著增强以及自动化技术的迅猛进步,生产线对于员工健康状态的持续监测以及产品质量的严格把控需求愈发迫切。为此,我们精心打造了一款名为“生产线守护者—智能哨卡”的创新设备,该设备巧妙融合了非接触式体温测量与高效身份识别技术,旨在全面提升生产线的健康管理效能与质量控制水平。
找人才
千校人才小程序
找工作
万企岗位小程序
一键咨询
注册简历
查询
资料下载
返回顶部