微信公众号
手机网站
就业/招聘小程序
咨询电话: 010-66083178(工作日8:30-17:00) 请登录 注册
联系我们
联系人:王秀秀
010 -66083178
www.qxwq.org.cn 
北京市西城区广安门
内广义街5号广益大厦
大赛作品详情

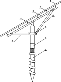
作品名称:旋转式太阳能光伏支架
学校名称:山西晋中理工学院
参赛队伍:一大队
参赛学生:刘祥瑞 孙先宙  
指导老师:张鑫 袁秀楠  

详细说明

旋转式太阳能光伏支架是一种采用自动追踪技术的支架,旨在通过动态地调整光伏板的角度,使得光伏板始终面向太阳,从而大幅度提高光伏发电效率。本项目主要的应用场景为充电车棚。 

主要特点是能够使太阳能光伏板随着太阳的移动而旋转,从而始终保持与太阳光近乎垂直的状态,最大化地接收太阳能,有效提高太阳能的利用效率。这种支架通常具备精巧的机械结构和驱动装置,可以实现精确的角度调整。其优势在于能显著提升发电效果,适应不同的光照条件和地理位置,具有较强的适应性和实用性。在太阳能发电领域中,旋转式太阳能光伏支架为更高效地利用太阳能资源提供了有力支持。 

在功能方面,车棚不仅为车辆提供了遮风挡雨的场所,还配备了充电设施。这些充电设施利用太阳能转化的电能,为电动汽车等提供清洁、可持续的充电服务。一方面有效利用了闲置的空间资源,为停车场增添了附加价值;另一方面减少了对传统能源的依赖,实现了绿色环保出行。同时,这种创新的设计还具有良好的适应性,可以根据不同的场地和需求进行灵活安装和调整。

旋转式转式太阳能光伏支架的发展理念主要集中在技术创新、高效能、可靠性、环保和成本效益等方面。这些理念不仅体现了旋转式太阳能光伏支架行业的前瞻性思维,也反映了其对持续发展和环保责任的承诺。

找人才
千校人才小程序
找工作
万企岗位小程序
一键咨询
注册简历
查询
资料下载
返回顶部