微信公众号
手机网站
就业/招聘小程序
咨询电话: 010-66083178(工作日8:30-17:00) 请登录 注册
联系我们
联系人:王秀秀
010 -66083178
www.qxwq.org.cn 
北京市西城区广安门
内广义街5号广益大厦
大赛作品详情

作品名称:“陶瓷安瓿瓶切割刀具”--安心医疗,从切割开始
学校名称:齐齐哈尔工程学院
参赛队伍:切割小队
参赛学生:张秋阳 单雨菲  
指导老师:张林琳  

详细说明
我们荣幸地向您推出一款创新的医疗技术产品——陶瓷安瓿瓶切割刀具。这款产品是我们针对医疗行业中安瓿瓶开启过程中存在的问题而精心研发的,旨在提高医务人员的工作效率和安全性。
1.产品特性:安全、高效、稳定
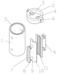
安全性高:在医疗环境中,安全永远是我们的首要考虑。我们的安瓿瓶切割刀具采用了隐藏式刀片设计,确保刀片在未被使用时不会暴露在外,极大地降低了医务人员在使用过程中的划伤风险。同时,独特的双刀片旋转切割方式不仅保证了切割口的平整,也进一步降低了因切口不平整而可能导致的划伤。
操作简便:我们深知医务人员在日常工作中的繁忙与辛苦,因此,我们的产品设计力求简洁明了。医务人员只需通过按压两个控制压盘,就能轻松实现对安瓿瓶的旋转切割。这种直观的操作方式大大减少了操作的复杂性,让医务人员在繁忙的工作中也能迅速、准确地完成安瓿瓶的开启。
耐用性强:为了确保产品的稳定性和耐用性,我们选用了高质量的材料,并经过精密的加工工艺进行制造。刀片固定架和第一支撑弹簧的设计不仅保证了切割刀片在使用过程中的稳定性,也延长了产品的使用寿命。
2.功能介绍:全面满足医疗行业需求
快速切割:本产品采用高效的动力系统和精密的切割机制,能够在短时间内迅速而准确地完成安瓿瓶的切割。这不仅提高了医务人员的工作效率,也确保了药品的安全和有效使用。
适应性强:为了满足不同医疗机构的需求,我们的安瓿瓶切割刀具具有出色的自适应性。无论是不同规格还是不同材质的安瓿瓶,都能轻松应对,确保切割的准确性和效率。
易于清洗:我们深知医疗设备的日常维护和保养对于其长期稳定运行的重要性。因此,我们的安瓿瓶切割刀具采用了简洁明了的设计,方便医务人员进行拆卸、清洗
和保养。同时,我们也提供了详细的维护手册和技术支持,确保客户在使用过程中能够得到及时、有效的帮助。
3.设计方案与生产能力:专业、高效、可靠
我们的设计团队由经验丰富的医疗器械设计师组成,他们具备深厚的专业知识和丰富的行业经验。他们能够根据客户的需求和反馈进行个性化定制设计,确保产品能够满足医疗机构的实际需求。同时,我们也拥有先进的生产线和严格的质量控制体系,确保每一件产品都符合高品质标准。我们承诺在接到订单后能够迅速组织生产并按时交付产品。
4.服务承诺:全程无忧
我们始终坚持以客户为中心的服务理念,为客户提供全方位的售后服务和增值服务。我们的服务承诺包括但不限于:
产品安装与调试指导:我们将为客户提供详细的产品安装和调试指导手册以及视频教程,确保客户能够正确、安全地使用产品。同时我们也将派遣专业工程师进行现场指导服务。
培训支持:我们将为客户提供产品使用培训服务包括在线培训、现场培训和定期培训等多种形式以确保医务人员能够熟练掌握产品的操作技能。
售后维修与保养:我们将为客户提供产品维修和保养服务确保产品始终处于良好状态。我们的售后服务团队将随时为客户提供技术支持和解决方案以确保客户在使用过程中的顺畅和满意。
技术咨询与升级支持:我们将为客户提供技术咨询和产品升级支持确保客户能够及时了解最新的产品信息和技术动态。我们将定期发布产品更新和技术改进信息以帮助客户更好地使用和维护产品。
总之,我们的安瓿瓶切割刀具将为您的医疗工作带来更高的安全性和工作效率。我们期待与您携手合作共同推动医疗事业的发展!
找人才
千校人才小程序
找工作
万企岗位小程序
一键咨询
注册简历
查询
资料下载
返回顶部