微信公众号
手机网站
就业/招聘小程序
咨询电话: 010-66083178(工作日8:30-17:00) 请登录 注册
联系我们
联系人:王秀秀
010 -66083178
www.qxwq.org.cn 
北京市西城区广安门
内广义街5号广益大厦
大赛作品详情

作品名称:电动扭矩扳手
学校名称:山东理工大学
参赛队伍:农工之星
参赛学生:刘天旭 刘星宇 谢荣凯  
指导老师:韩鑫  

详细说明

1.开发背景

钢结构桥梁,厂房建筑,化工,发电设备以及大型设备检修等大六角头高强度螺栓初拧及终拧和扭剪型高强度螺栓的初拧以及对螺栓紧固件的扭矩或轴向力有着严格要求。目前使用的定扭矩电动扳手,是通过控制电机的电流来实现电机扭矩的控制,需要拉电线并且需要两人及以上配合,操作相对繁琐,并且扭矩精确度比较低,只是范围扭矩,工作效率相对比较低,而且电机扭矩的误差经过多级减速齿轮放大后,最终电动扳手的输出扭矩精度不高,严重影响高强度螺栓使用效果。

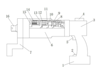
2.结构说明

一种电动扭矩扳手,主体具有枪形结构,若干电池内置于手柄内,电池与内置于枪筒后端的电机相连,电机输出端与内置于减速箱体中的行星轮系机构相连,行星轮系机构包括一级行星轮、一级行星架、二级行星轮、二级行星架、三级行星轮、三级行星架、四级行星轮和四级行星架,一级行星架、二级行星架、三级行星架和四级行星架上的一级行星轮、二级行星轮、三级行星轮和四级行星轮依次相连,四级行星轮与枪筒前端的驱动轴相连,枪筒顶部设置控制面板,控制面板与行星轮系机构的力矩传感器和转速传感器相连,枪筒前端设置反力臂。

3.功能与使用说明
       工具设置反作用力臂,工作产生的巨大扭矩都由反作用力臂吸收,使用时首先为反力臂寻找足够强度的支撑点,并将反力臂贴近支撑点,当螺栓打紧完成后,通过控制面板调节扭矩值,扭矩值设定完成后按下电源按键,输入所需的扭矩,将扳手的反力臂靠上支撑点,按下启停开关,扳手开始工作,直至螺栓打紧后扳手停止工作,拧紧工作结束。

找人才
千校人才小程序
找工作
万企岗位小程序
一键咨询
注册简历
查询
资料下载
返回顶部