微信公众号
手机网站
就业/招聘小程序
咨询电话: 010-66083178(工作日8:30-17:00) 请登录 注册
联系我们
联系人:王秀秀
010 -66083178
www.qxwq.org.cn 
北京市西城区广安门
内广义街5号广益大厦
大赛作品详情

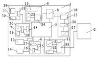
作品名称:一款基于太阳能的节能滴灌自动控制装置
学校名称:邯郸学院
参赛队伍:智能如水
参赛学生:邢云祺 韩颖霞 孙雨薇  
指导老师:石凯凯 裴珍  

详细说明

近年来随着国家市政府对于环境质量的不断重视,我国城乡绿化面积的不断扩大,绿化灌溉面积的不断增加以及对精细灌溉要求的逐步提高,实现灌溉管理的自动化、智能化、可视化已成为园林花卉的重点。然而,市面上现有的花卉植物灌溉系统并不完善,传统的花卉养殖灌溉方式较为单一,灌溉设备一般是通过人工使用花洒或者喷水管道或者使用微喷进行浇灌,操作过程比较麻烦针对以上情况,我们发明的智能灌溉系统与传统灌溉系统相比添加了自动控制系统。可以无线操作,无线中心和控制器之间采用无线连接,能实现对灌溉设备的统一管理和远程控制,整个灌溉过程已经不需要人力干涉,使用者通过手机和电脑对接后,就能直接在手机或电脑上看到土壤的湿度情况以及花卉成长情况。通过手机AAP或者电脑PC端远程控制,主要是由云服务器联接气象站、网关和水肥一体机及其多路开关控制器,通过连接各个控制节点控制电磁阀由进行无线自动智能操控,会根据土壤PH传感器和土壤湿度传感器所传达的数据,自动施肥滴灌。产品能够大幅度提高监测结果的稳定性和可靠性。由此既可以保证花卉的生长质量,又可以节省人力物力。
  除此之外节能环保也是本项目的一大亮点,以太阳能为核心储存光能,通过太阳光的照射吸收太阳光的能量并且转化为电能储存在蓄电池内,可以减少资源消耗。并且该装置也能够通过你联网定位自身位置,并实时监控当地天气情况,当遇到下雨天气时会开启自动存储装置收集雨水,等到天气正常时,再次用收集的雨水灌溉植物。采用太阳能滴灌智能灌溉技术,不仅可以比浇灌节水50%-70%,而且可以提高灌溉均匀度,符合现在可持续发展的主题。我们的太阳能节能滴灌自动控制装置低成本、安装便捷的特性,适于快速推广和普遍使用。
  我们的产品优势:绿色发展 自动控制 节省人力物力 低碳 环保 节能

 
找人才
千校人才小程序
找工作
万企岗位小程序
一键咨询
注册简历
查询
资料下载
返回顶部