微信公众号
手机网站
就业/招聘小程序
咨询电话: 010-66083178(工作日8:30-17:00) 请登录 注册
联系我们
联系人:王秀秀
010 -66083178
www.qxwq.org.cn 
北京市西城区广安门
内广义街5号广益大厦
大赛作品详情

作品名称:多阵子聚焦式超声悬浮轴承
学校名称:山东理工大学
参赛队伍:理工队
参赛学生:赵习伟 陈乙彤 任展毅  
指导老师:宋汝君  

详细说明

近年来,随着流体动力学技术、非线性声学技术、气体热力学技术以及超声波近场悬浮技术的发展和压电陶瓷等智能材料的广泛应用

,为超声波悬浮轴承的发展研究和创新奠定了基石。传统轴承的系列标准化使得其运用受到了许多限制,而超声波悬浮轴承作为非接触式轴承的新型研究热点,是构建非接触轴承的一种有前途的替代解决方案,并且已经进行了数十年的研究。它的结构简单紧凑,可以提高整体结构的机械加工效率,对于纳米级和微米级的精密领域运用前景广泛,因此对于多阵子聚焦式超声波悬浮轴承的研究和创新是十分重要且有意义的。

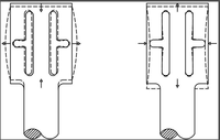
本文基于超声波近场悬浮技术和压电陶瓷智能材料所产生的逆压电效应, 设计了一种多阵子聚焦式超声波悬浮轴承。旨在设计一种在原理上基于压电陶瓷的逆压电效应和超声近场悬浮技术,使用以压电陶瓷智能材料为核心的大功率郎之万超声波换能器,利用其表面气体的高频振动与悬浮物之间形成很薄的空气挤压膜,以此作为能量传

递的介质。在结构上使用三个高功率的郎之万超声波换能器且三个超声换能器间隔 120°,改变辐射体内部截面为ㅓㅏ结构将超声波分以横波和纵波实现超声波悬浮轴承的径向和轴向复合承载,为更好

 

 
   
的提高多阵子聚焦式超声波悬浮轴承的轴向悬浮力,在所要悬浮的转子上加上一个轴向定位轴套筒并将辐射头与轴套作用截面进行斜面处理实现与轴套更好的配合作用。采用所设计的轴承不需要外部加压空气或液体供应,没有反馈控制,轴承也自然稳定,优点是在保持原本径向承载能力的基础上,实现了径向和轴向的复合承载,并且更好的提高了悬浮轴承的轴向悬浮能力,减小了轴承在运行时的偏心,在高速时运行更加稳定可靠。并以 dsPIC30F4011 单片机为电源控制核心,对超声波换能器的驱动电路进行设计,实现调频调压和压力值获取的功能。

 

结合超声悬浮轴承的国内外现状对超声波悬浮轴承的优缺点,以及所运用的原理技术进行探究。为在实现超声波悬浮轴承轴向悬浮力和径向悬浮力复合承载的基础上,提高轴承的轴向承载力,对轴承的结构进行设计和材料选取。对所设计的超声悬浮轴承所选取的高功率郎之万换能器进行分析,在确定结构的基础上始终以提高轴向承载力为核心,不断地进行结构优化并确定机械结构的尺寸。与此同时,为实现对所设计轴承郎之万换能器的控制,利用压电陶瓷等智能材料的逆压电效应对换能器的驱动电路进行构思与设计

 

找人才
千校人才小程序
找工作
万企岗位小程序
一键咨询
注册简历
查询
资料下载
返回顶部