微信公众号
手机网站
就业/招聘小程序
咨询电话: 010-66083178(工作日8:30-17:00) 请登录 注册
联系我们
联系人:王秀秀
010 -66083178
www.qxwq.org.cn 
北京市西城区广安门
内广义街5号广益大厦
大赛作品详情

作品名称:一种用于生产加工的机械传输结构
学校名称:黑龙江农业工程职业学院
参赛队伍:设计先锋队
参赛学生:于福竣 杨锐  
指导老师:董浩 刘永坤  

详细说明
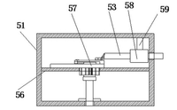
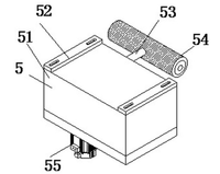
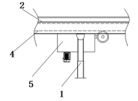
        本实用新型设计公开了一种用于生产加工的机械传输结构,包括支架、侧板、转轴、输送带、清理 装置、控制器、电源线、主动齿轮、链条、从动齿轮 和第一电机,本实用新型通过在侧板底部设置有 清理装置,在清理装置内部由独立电机控制齿轮 机构,来使得滑动杆实现往复运动,在滑动杆上 安装有刷辊,刷辊接触到运动的输送带能对输送 带上的毛屑进行清扫以及粘黏,方便对输送带吸 附的毛屑以及线头进行处理,减少人工的操作, 有效减少了人力成本,增加了工作的效率。
找人才
千校人才小程序
找工作
万企岗位小程序
一键咨询
注册简历
查询
资料下载
返回顶部