微信公众号
手机网站
就业/招聘小程序
咨询电话: 010-66083178(工作日8:30-17:00) 请登录 注册
联系我们
联系人:王秀秀
010 -66083178
www.qxwq.org.cn 
北京市西城区广安门
内广义街5号广益大厦
大赛作品详情

作品名称:一种新型花生脱壳机设计
学校名称:宿州学院
参赛队伍:努力
参赛学生:杨玉龙 费凯旋 王涛  
指导老师:李强  

详细说明

自从进入21世纪以来, 提高花生脱壳机械的通用性和适应性仍是当前的主要研究方向之一。提高花生脱壳机械的通用性和兼容性,使研制的花生脱壳机械通过更换主要部件能够同时对其他带壳物料进行脱壳加研制通过变换主要工作部件即能满足不同品种花生果脱壳作业需要的脱壳机具,并提高制造工艺水平,降低制造成本,以适应不同企业的需要。花牛脱壳机械能否适应这种发展趋势,将直接影响到化生脱壳机械能否更好的推广应用与健康发展。 对花生脱克机械的关键技术与工作部件进行重点攻关,改革传统结构,,优化结构设计:同时在整体配置上进一步改进和完善,经过双层筛选, 提高脱壳。 降低花坐仁破损率。

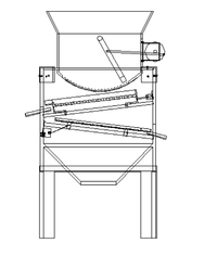
本设计是一种高效率、节省空间、具有双重筛选栅格板组成花生脱壳机。其中粉碎部分包括外侧电机、转子、连接盘、连接板、销钉、和刮板,电机由螺丝钉进行固定。刮板与上半部分由轴承连接,连接杆左边与电机的连接盘进行连接,右边与刮板进行连接。筛选部分由四块铁板组成,并由立体的方形卡槽在螺丝钉的作用下进行固定,第一层栅格板由两根圆柱通过螺丝在铁板上进行固定,栅格板在电机的作用下通过连接杆进行运动,并带动栅格板的来回滑动,栅格板由众多的圆孔组成,并在栅格板的尾端设置出料口,第二层栅格板跟第一层栅格板类似,第二层孔的半径比第一层小,第二层栅格板在电机的带动下进行来回滑动,并设置出料口。出料口与第一层栅格板出料口相反,防止花生仁与壳之间的混乱。而且底部也设置出料口,进行花生壳碎渣的掉落。最下面由一个底座构成在将花生放进进料口时,花生在刮板的撞击与挤压进行剥壳,粉碎的花生壳和完整的花生仁从碾碎板掉落,然后经过位于碾碎板下部的第一层栅格板,栅格设计成圆孔的板子,圆孔的半径比一般花生人的直径稍微大一些,在花生仁掉落的同时经过第一层栅格的筛选,花生仁掉落,花生壳经过倾斜栅格的来回振动将花生壳运输到外面。在花生仁掉落的同时经过第二层栅格,第二层栅格设计成为直径比花生仁的直径小得多,此层栅格的设计主要筛选掉花生壳的碎渣,花生碎渣将经过栅格板的振动被运输到外界,从而达到分离的效果。



扫码申请
职业领航师
千校选才官
找人才
千校人才小程序
找工作
万企岗位小程序
一键咨询
注册简历
查询
资料下载
返回顶部