微信公众号
手机网站
就业/招聘小程序
咨询电话: 010-66083178(工作日8:30-17:00) 请登录 注册
联系我们
联系人:王秀秀
010 -66083178
www.qxwq.org.cn 
北京市西城区广安门
内广义街5号广益大厦
大赛作品详情

作品名称:一种轨道式自动采茶机器人
学校名称:青岛黄海学院
参赛队伍:我没有闪
参赛学生:孙鲁煜 戴文凯 李宪章  
指导老师:刘子萌 胡雪芳  

详细说明

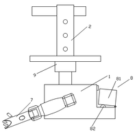
本方案的技术思路是:在茶田上方设有轨道,采用悬挂式机器人悬挂在轨道的下方,机器人内部设有视觉系统,包括COMS图像传感器、图像处理模块、控制器模块。通过视觉系统可以提取茶叶的位置以及状态,配合仿生式机械手臂可以锁定茶叶位置进行模拟人工的单叶采摘,用来采摘高品质茶叶。收集机构下方安装有液压举升机构,可以进行收集装置的自动清空。全程实现自动化。

本设备包括在茶田上方的轨道,悬在轨道的悬挂式机器人,所述轨道采用U型轨道。悬挂式机器人系统包括采集装置、收集装置、电源装置、GPS定位系统、视觉系统以及步进电动机;所述机器人上方有横梁搭在轨道上方,步进电动机在固定平台上方,通过步进电机通过齿轮传动控制驱动轮转动以实现传动。通过步进电机通过齿轮传动控制驱动轮转动以实现传动。本方案采用视觉系统获取茶叶叶片的位置以及数据,实现锁定式采摘;且受外部客观因素影响低,采茶过程摆脱了对对地形的依赖。采茶机构可从茶树顶梢筛选嫩叶,采用仿生机械手臂的机构,可以模拟人工的单叶采摘,茶叶的单叶采摘极大的保证

了采摘下的茶叶的优质性,在采摘过程中,对茶树以及茶叶伤害小,可以有效的提高生产效率。

扫码申请
职业领航师
千校选才官
找人才
千校人才小程序
找工作
万企岗位小程序
一键咨询
注册简历
查询
资料下载
返回顶部