微信公众号
手机网站
就业/招聘小程序
咨询电话: 010-66083178(工作日8:30-17:00) 请登录 注册
联系我们
联系人:王秀秀
010 -66083178
www.qxwq.org.cn 
北京市西城区广安门
内广义街5号广益大厦
大赛作品详情

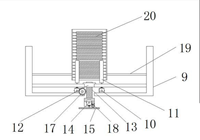
作品名称:智能白菜收割机
学校名称:青岛黄海学院
参赛队伍:拜仁慕尼黑
参赛学生:明晓阳 张德铭 潘晨曦  
指导老师:张玉良 蔡东岭  

详细说明

本产品是一款由下脚料为主体制成的智能白菜收割机,包括收割装置、传送装置以及收集装置,在收割装置的前方两侧装有旋转滚筒,用于加持白菜。该设备可通过操作人员的远程控制或者沿田地沟壑自主驾驶实现对地中白菜进行收割、收集的功能。它的诞生将会有效地解决了白菜收割困难的问题,本产品的使用能够大大提高收获效率,降低菜农的劳动强度。本机器可收割一定规模的白菜,保障了收获效率的同时降低了人力资源的投入,提高社会劳动生产力,降低白菜收获成本,增加农民收入。

扫码申请
职业领航师
千校选才官
找人才
千校人才小程序
找工作
万企岗位小程序
一键咨询
注册简历
查询
资料下载
返回顶部