微信公众号
手机网站
就业/招聘小程序
咨询电话: 010-66083178(工作日8:30-17:00) 请登录 注册
联系我们
联系人:王秀秀
010 -66083178
www.qxwq.org.cn 
北京市西城区广安门
内广义街5号广益大厦
大赛作品详情

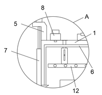
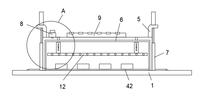
作品名称:材料成型用热处理装置
学校名称:营口理工学院
参赛队伍:向阳生
参赛学生:赵飞 梁旭  
指导老师:徐晓辰  

详细说明

材料成型用热处理装置包括:底板,其底端焊接有若干用于支撑的支杆,并在底板表面装配用于输送待加工材料的传送机构;外箱体,其盖设到底板的上表面,且外箱体两端的开口处均装配有隔板,外箱体的顶端安装有热源板;其技术要点为,将插板与真空发生器结构使用,可对内外箱体之间形成空腔的空气进行抽取,形成具有保温功能的真空层,同时也可进一步确保插板装配后的稳定性,实现对整个传送机构的制动处理,体现了整体结构使用时的灵活性;采用内外箱体结构,并与喷气机构结合使用,可在内箱体的内部形成循环的热气流,对待加工材料的表面进行烘干加热,保证内箱体中温度分布的均匀性,可对多组待加工材料进行同时加热

扫码申请
职业领航师
千校选才官
找人才
千校人才小程序
找工作
万企岗位小程序
一键咨询
注册简历
查询
资料下载
返回顶部