微信公众号
手机网站
就业/招聘小程序
咨询电话: 010-66083178(工作日8:30-17:00) 请登录 注册
联系我们
联系人:王秀秀
010 -66083178
www.qxwq.org.cn 
北京市西城区广安门
内广义街5号广益大厦
大赛作品详情

作品名称:智能水下船体清洗机器人
学校名称:山东交通学院
参赛队伍:梦想远航
参赛学生:王宗琦 张石猛 净飞宇  
指导老师:石庆国  

详细说明

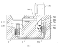
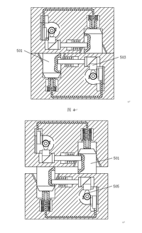
本发明公开了一种智能水下船体清洗机器人,包括机体、驱动机构、清洗装置和浮力调节机构,所述机体的外侧呈环形阵列布置不少于三组的机翼,所述机翼的端部设置驱动机构,所述机体的中间位置设置旋转的清洗机构,所述机体内部设置浮力调节机构;所述清洗机构包括安装筒,所述安装筒与机体转动安装,所述安装筒的回转轴线垂直于机体,所述安装筒的上端封闭,所述安装筒的圆筒的圆周壁设置多个通孔,每个所述通孔处转动设置有扰水板,所述安装筒底部外翻的翻边上设置多个贯通的安装槽,每个所述安装槽内配合安装刮除刀,本智能水下船体清洗机器人能够在清洗作业时对刮除刀进行冲洗,在非清洗作业时能将刮除刀隐藏。

扫码申请
职业领航师
千校选才官
找人才
千校人才小程序
找工作
万企岗位小程序
一键咨询
注册简历
查询
资料下载
返回顶部