微信公众号
手机网站
就业/招聘小程序
咨询电话: 010-66083178(工作日8:30-17:00) 请登录 注册
联系我们
联系人:王秀秀
010 -66083178
www.qxwq.org.cn 
北京市西城区广安门
内广义街5号广益大厦
大赛作品详情

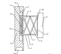
作品名称:伸缩式闸机
学校名称:西南交通大学希望学院
参赛队伍:三国演义
参赛学生:蒋诗洁 吴霜 钟艾伶  
指导老师:张海波  

详细说明

伸缩式闸机,通过改变闸门结构和开关方式,本质上减少摆闸门每次完全打开闭合时间,提高摆闸运行速度和寿命,来解决实际乘客检票过闸速度,减少拥堵。而目前缺少更准确的实践数据,需要确定本闸机的各类运行参数,对本闸机进行再优化,以及如何在地铁车站正常有效运行推广。利用伸缩式闸门的可伸缩长度增减单位面积内的闸机数量,解决闸机在不同的工作环境中的适应性问题,根据客流量的多少安放闸机数量,伸缩式闸机的闭合方式具有较快的开合速度,可以有效缓解闸机咽喉处的客流压力,提高单位时间内的客流通过能力。

扫码申请
职业领航师
千校选才官
找人才
千校人才小程序
找工作
万企岗位小程序
一键咨询
注册简历
查询
资料下载
返回顶部