微信公众号
手机网站
就业/招聘小程序
咨询电话: 010-66083178(工作日8:30-17:00) 请登录 注册
联系我们
联系人:王秀秀
010 -66083178
www.qxwq.org.cn 
北京市西城区广安门
内广义街5号广益大厦
大赛作品详情

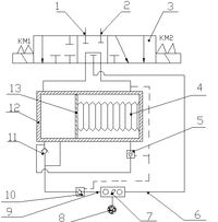
作品名称:淋浴节水自动装置
学校名称:河南应用技术职业学院
参赛队伍:淋浴节水自动装置
参赛学生:刘涛 姚梦飞  
指导老师:郜海超 李凤银  

详细说明

淋浴用水约占家庭生活用水总量的三分之一,淋浴节水是当前急需解决的问题。目前,对淋浴节水装置的改进设计主要在是对热水器管道冷水的处理,改进主要方案体现在:把热水器管道的冷水储存起来,以后再利用;把热水器管道的冷水首先加热,出现热水后断电等,而对热水器管道冷水处理的便捷性的研究很少,主要不足体现在:(1)冷水储存起来,以后利用操作的方便性不佳,储存的水还没用完就继续淋浴,就会造成储水桶溢出,造成水资源浪费;(2)用电辅助加热,加热需要220V供电,安全性无法保证,而且配套结构复杂,可操作性不强。


扫码申请
职业领航师
千校选才官
找人才
千校人才小程序
找工作
万企岗位小程序
一键咨询
注册简历
查询
资料下载
返回顶部