微信公众号
手机网站
就业/招聘小程序
咨询电话: 010-66083178(工作日8:30-17:30) 请登录 注册
联系我们
联系人:王秀秀
010 -66083178
www.qxwq.org.cn 
北京市西城区广安门
内广义街5号广益大厦
大赛作品详情

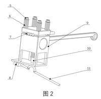
作品名称:排线器
学校名称:桂林电子科技大学
参赛队伍:排线器
参赛学生:唐俊鑫 覃维伦 江培烁  
指导老师:姚嘉 卢伟  

详细说明

电抗器生产普遍存在人工排线,,因此排线的预紧力依靠人工拉力控制,并且排线密度也依靠人工把控,不仅工人的劳动强度大,存在安全隐患,而且生产效率低,总的来说产品生产效率和质量地下。国际市场竞争加剧,作为输变电设备行业压力增大。
  本设计
需要解决的技术问题是克服人工排线的拉力不确定性和排线效率低下,提供了一种机械代替人工的电抗器排线系统设计结构。该结构不仅能提高排线的效率和紧密程度,减少人工工作量,而且能灵活根据排线尺寸改变排线孔大小,实现不同的排线速度和排线数量。
  增益效果为一、
机械排线代替人工排线的不稳定性,减小了劳动强度,提高了产品的生产效率和质量,排线要求可以灵活改变,结构合理。是对传统排线的创新。
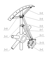
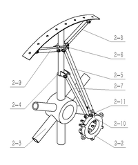
、结构合理,通过圆周支撑组件和直径、曲率调节组件配合适用于基本直径不同的电抗器生产,实现随着基本直径的增加,调节外圆弧面曲率对应配合增加的技术效果。模具自身调节过程简单,简化操作难度,固定方便快捷,脱模迅速可靠,既节省时间又降低劳动量,使得电抗器的制造精准度和调节灵活性稳定兼得。
三、径向调节范围较广,可根据产品的具体要求,制造一定经向调节的模具,组成连续的区段,使其适用于基本直径范围内的电抗器生产制造。
四 、直径、曲率调节组件结构设计巧妙,能够联动实现自身变径效果,可在基本直径与最大直径之间任意调节,能够满足目前使用的大多数电抗器的径向尺寸要求,具有一定通用性。调节时,只需拧动两端的调节螺母,通过连杆的作用就可以时模具直径与外圆周面面曲率同时变化,变径效果稳定,保证了外圆周面的圆滑度,为生产高质量统--的产品提供有利基础。

五、各个直径、曲率调节组件之间相搭接的连接关系能够通过一个限位螺母的调节实现相支撑座的微调后的支撑效果,调节过程操作简单易行。
六、能够利用现有电抗器模具进行对应改造即可实现,有利于现有电抗器模具继续在改造后投入使用,节能减排。

 

 

找人才
千校人才小程序
找工作
万企岗位小程序
一键咨询
注册简历
查询
资料下载
返回顶部