微信公众号
手机网站
就业/招聘小程序
咨询电话: 010-66083178(工作日8:30-17:30) 请登录 注册
联系我们
联系人:王秀秀
010 -66083178
www.qxwq.org.cn 
北京市西城区广安门
内广义街5号广益大厦
大赛作品详情

作品名称:面向微剂量药物的超声悬浮无容器运输器设计
学校名称:山东理工大学
参赛队伍:超级努力队
参赛学生:张慧子 赵佳 李德龙  
指导老师:宋汝君  

详细说明
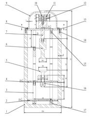
原理概述
声波可以对沉浸在波场中的物体施加力。这些力通常很弱,但当使用高强度波时,由于非线性特性,它可以变得很大,甚至大到能使物质克服重力悬浮。当使用的声波位于超声波频率范围(大于20kHz)内时,这种技术称为声悬浮或超声悬浮。本设计在超声悬浮装置中分别进行单一/多个超声换能器的超声悬浮研究,并寻找最高效的微剂量药物无容器运储装置。
解决问题
传统的悬浮装置由于反射端材料的不规则、不均匀和能量逸出会使超声波有一定的能量损耗,从而降低了驻波声场的稳定性和悬浮能力,传统悬浮装置不能保证悬浮目标的稳定性和位移。因此本设计面对微剂量药物展开研究新型悬浮装置, 提高驻波声场的悬浮稳定性并实现微剂量药物远距离移动运输。提高超声悬浮技术的应用能力。
设计概述
本设计在超声悬浮装置中分别进行单一/多个超声换能器的超声悬浮研究,并寻找最高效的微剂量药物无容器运储装置。对于单一驻波悬浮装置,可根据超声驻波悬浮理论,计算出悬浮力大小与谐振腔长度、反射面形状以及目标物品性质之间的关系,实现多个目标的多层悬浮。也可以规划超声换能器阵列,提高超声悬浮系统的悬浮效率,即利用多个超声换能器组成超声阵列悬浮系统,以满足不同种类的微剂量药物液滴或颗粒的悬浮要求。完成设计后,利用ANSYS软件进行仿真实验,测试所设计的单一超声换能器的超声悬浮无容器运储性能和超声换能器阵列的超声悬浮阵列性能。出于对实验成本和运输效率的考虑,最终本设计确定选用单一超声换能器组成的悬浮系统。
找人才
千校人才小程序
找工作
万企岗位小程序
一键咨询
注册简历
查询
资料下载
返回顶部