微信公众号
手机网站
就业/招聘小程序
咨询电话: 010-66083178(工作日8:30-17:30) 请登录 注册
联系我们
联系人:王秀秀
010 -66083178
www.qxwq.org.cn 
北京市西城区广安门
内广义街5号广益大厦
大赛作品详情

作品名称:新能源汽车技术实训装置
学校名称:绍兴市上虞区职业教育中心
参赛队伍:虞职2队
参赛学生:任豪杰 盘庚  
指导老师:任城龙  

详细说明

本发明目的在于提供一种新能源汽车电池检测装置,解决了现有的问题传统的检测方式结构单一,检测效率低下,不能对流水线上不同位置上的电池进行检测,降低了检测效率

为解决上述技术问题,本实用新型是通过以下技术方案实现的:

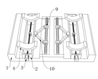
一种新能源汽车电池检测装置,包括第一传送带,所述第一传送带的一侧固定有检测平台,所述检测平台的一端固定有第一电机,所述第一电机的输出端固定有第一螺杆,且所述第一螺杆检测平台转动连接,所述第一螺杆的外侧螺纹连接有支撑平台,所述检测平台的顶部且位于第一螺杆的一侧固定有第一限位杆,且所述支撑平台第一限位杆滑动连接,所述支撑平台的顶部固定有两个调节液压杆,所述支撑平台的内部滑动连接有两个滑动柱,且所述滑动柱调节液压杆的输出端固定连接,所述滑动柱的一端固定有电动推杆,所述电动推杆的输出端固定有正负极检测组件,所述正负极检测组件的顶部固定有指示灯

进一步地,所述第一传送带的另一侧设置有第二传送带,所述第二传送带的一侧固定有两个第一回收架,其中一个所述第一回收架顶端的一侧固定有第二电机,所述第二电机的输出端固定有第二螺杆,且所述第二螺杆与另一个第一回收架转动连接,所述第二螺杆的外侧螺纹连接有回收平台,所述第二传送带的另一侧且与第一回收架相对应的位置固定有两个第二回收架,两个所述第二回收架之间固定有第二限位杆,且所述回收平台第二限位杆滑动连接,所述回收平台的内部固定有回收液压杆,所述回收液压杆的输出端固定有夹持组件

进一步地,所述第一传送带第二传送带的表面均开设有防滑槽

进一步地,所述第一电机的底部固定有支撑架,且所述第一电机通过支撑架与检测平台固定连接

进一步地,所述滑动柱的另一端固定有挡块

进一步地,所述夹持组件的表面设置有防滑垫

本发明具有以下有益效果:

1、本发明通过一系列调节结构,能够对流水线上不同位置的电池进行检测,提高了装置的检测效率

2、本发明通过一系列传动结构,能够对有质量问题的电池进行筛选,保证了电池的出厂质量。

找人才
千校人才小程序
找工作
万企岗位小程序
一键咨询
注册简历
查询
资料下载
返回顶部