微信公众号
手机网站
就业/招聘小程序
咨询电话: 010-66083178(工作日8:30-17:30) 请登录 注册
联系我们
联系人:王秀秀
010 -66083178
www.qxwq.org.cn 
北京市西城区广安门
内广义街5号广益大厦
大赛作品详情

作品名称:便携式水下救援机器人
学校名称:山东交通学院
参赛队伍:星梦队
参赛学生:姜凯 刘小萍  
指导老师:石庆国  

详细说明
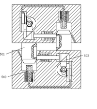
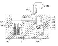
本智能水下搜救机器人具有较强的水下机动性能,并且能够通过多组机器人快速结合的方式提供较大的起吊力,有助于快速在水下完成覆盖物的起吊作业,可以有效解决狭窄水域快速救援问题。该机器人的驱动机构采用主推进器进行上下运动,提供主浮力,且驱动机构的辅助推进器轴线与框架的圆周切线重合,当辅助推进器工作时,能够带动机器人在原地旋转,便于在狭小空间内进行调整和作业,快速完成沉船救援作业,采用连接头实现两个水下机器人的快速结合和脱离,在不影响机动性和灵活性的前提下,通过多个水下搜救机器人的结合,提升起吊能力,完成水下重物起吊。
找人才
千校人才小程序
找工作
万企岗位小程序
一键咨询
注册简历
查询
资料下载
返回顶部