微信公众号
手机网站
就业/招聘小程序
咨询电话: 010-66083178(工作日8:30-17:00) 请登录 注册
联系我们
联系人:王秀秀
010 -66083178
www.qxwq.org.cn 
北京市西城区广安门
内广义街5号广益大厦
大赛作品详情

作品名称:雨水收集装置
学校名称:中国人民解放军空军勤务学院
参赛队伍:airf
参赛学生:程冲 张晋源  
指导老师:郭鹏伟  

详细说明

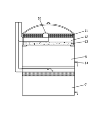
本实用新型公开了一种多功能雨水收集装置,包括罐体和集雨管道,所述罐体被隔板分割为集雨罐和集雨管,且集雨罐a的上端口安装有端盖,所述端盖中从上至下依次设置有石英砂层,微生物过滤层和活性炭层,所述集雨管道与排水管和接水管之间安装有分水器,所述分水器的内部安装有移动管,且移动管的表面安装有把手,所述分水器的低端设置有下水管,且下水管的出水端口与排水管的进水端口之间密封连接,所述移动管的出水端口与排水管的进水端口之间密封连接,且排水管的出水口设置在端盖内的石英砂层的上表面。本实用新型能够分别对降雨前端时间与降雨中后期内的雨水分别收集,保证集雨罐内收集的雨水质量。

找人才
千校人才小程序
找工作
万企岗位小程序
一键咨询
注册简历
查询
资料下载
返回顶部