微信公众号
手机网站
就业/招聘小程序
咨询电话: 010-66083178(工作日8:30-17:30) 请登录 注册
联系我们
联系人:王秀秀
010 -66083178
www.qxwq.org.cn 
北京市西城区广安门
内广义街5号广益大厦
大赛作品详情

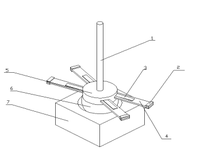
作品名称:基于颤振机理的不倒翁式风能收集器
学校名称:山东理工大学
参赛队伍:灰熊队
参赛学生:李德龙 王依诺  
指导老师:张华强  

详细说明
1研究内容
找人才
千校人才小程序
找工作
万企岗位小程序
一键咨询
注册简历
查询
资料下载
返回顶部