微信公众号
手机网站
就业/招聘小程序
咨询电话: 010-66083178(工作日8:30-17:30) 请登录 注册
联系我们
联系人:王秀秀
010 -66083178
www.qxwq.org.cn 
北京市西城区广安门
内广义街5号广益大厦
大赛作品详情

作品名称:水域垃圾桶
学校名称:武汉东湖学院
参赛队伍:东山·巨人
参赛学生:黄梓棖 陈俊豪 金晶  
指导老师:王国荣 肖燕  

详细说明
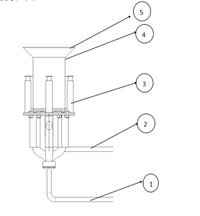
        该作品是一款高效环保水域垃圾桶,主要作用于小型水域。垃圾桶底部固定,通过水管连通水泵,水泵产生吸力,带动垃圾进入垃圾桶中,从而起到了清理水面垃圾的作用。通过水泵吸入管道中的水既可以用于花草树木的灌溉、洗车;又可以回到湖中,形成喷泉,不但利与环境的美化,还给与水面垃圾一份冲击力,让水面垃圾向垃圾桶的方向前进,加速水面垃圾的清理。
        垃圾桶中装有垃圾袋形状的过滤袋,垃圾桶装满之后,只需要把垃圾过滤袋拿出,换上新的垃圾过滤袋即可,操作简单方便。
        由于水面的深度可能有所波动,我们采用液压传动控制垃圾桶的上升,下降。
该作品结构简单,体积小,能实现功能的同时保证了结构的简单性和稳定性,还能够快速有效的把水域垃圾进行收集、沥干和统一放置。而且由于其体积很小,能够适用于多种环境,如小型池塘,湖泊以至部分码头和海洋等。
该作品不仅仅是起到水面垃圾的清理,还可以增减水域的观赏性,从而带动旅游景区的游客量,同时又体现出一种设计理念,一物多用,带动社会的发展和人类的进步。
 
 
找人才
千校人才小程序
找工作
万企岗位小程序
一键咨询
注册简历
查询
资料下载
返回顶部