微信公众号
手机网站
就业/招聘小程序
咨询电话: 010-66083178(工作日8:30-17:30) 请登录 注册
联系我们
联系人:王秀秀
010 -66083178
www.qxwq.org.cn 
北京市西城区广安门
内广义街5号广益大厦
大赛作品详情

作品名称:智能鞋柜
学校名称:武汉东湖学院
参赛队伍:东山·红河
参赛学生:黄梓棖 彭闵 陈锐  
指导老师:王国荣 肖燕  

详细说明
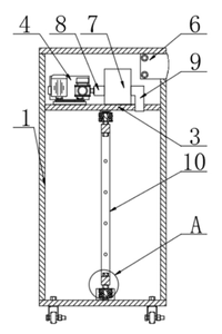
本产品加入了机械结构与除湿功能,机械结构通过滑轨等结构方便人们取放鞋子更加方便,除湿部分利用空气循环达到除湿效果,能够方便人们的生活。
鞋柜壳体的底部可拆卸安装有万向移动轮,鞋柜壳体内腔的一侧固定安装有分割板,分割板的顶部固定安装有鼓风机,鞋柜壳体的内壁活动安装有小型门帘板,鞋柜壳体内腔的顶部固定安装有控制箱,分割板的顶面固定安装有加热箱,加热箱的一侧固定安装有进风管,从而方便人们的生活。本产品可供用户选择合适的鞋子;且通过所述鼓风机、加热箱和热风管之间的相互配合,利用电热网释放热量,通过鼓风机将热量输送至烘干腔,实现对鞋子的祛湿烘干的效果。
找人才
千校人才小程序
找工作
万企岗位小程序
一键咨询
注册简历
查询
资料下载
返回顶部