微信公众号
手机网站
就业/招聘小程序
咨询电话: 010-66083178(工作日8:30-17:00) 请登录 注册
联系我们
联系人:王秀秀
010 -66083178
www.qxwq.org.cn 
北京市西城区广安门
内广义街5号广益大厦
大赛作品详情

作品名称:一种有助于视力保护的用眼距离监测装置
学校名称:山东理工大学
参赛队伍:监姿守瞳队
参赛学生:冯英 李昕乐  
指导老师:孟晶晶 国睿  

详细说明

一、开发背景

世界卫生组织此前的研究报告显示,中国近视患者人数多达6亿,青少年近视率居世界第一,中国已经成为世界第一近视大国。更令人担忧的是青少年——全国儿童青少年近视情况调查结果显示,2018年全国儿童青少年总体近视率为53.6%,2019年为50.2%。受疫情期间居家隔离、线上课堂等影响,全国儿童青少年总体近视率上升。另外,除了发病率高,国内儿童青少年中的高度近视比例也呈上升趋势。
   目前国内外市售的视力保护的用眼距离监测装置均通过将固紧部件、连接组件与距离探测机构相结合,可以有效的监测使用者的用眼距离,在距离不适当的情况下及时的发出警报,提醒使用者注意用眼卫生,对于保护视力具有积极的作用,但装置只具备警示作用,对于自制力稍差的人来说,只具有被动警示效果的监测装置往往只会使得使用者产生抵触心理,并不能实现改变其坐姿习惯的目的,因此距离监测装置需要搭配主动矫正机构来更好提高视力保护效果。

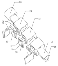
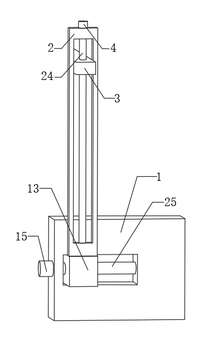
二、结构说明

此装置主要结构包括桌板、距离监测机构、矫正机构和调节机构。桌板底部两端均固定连接底部设有防滑垫的第二连接板,起固定作用,桌板前部一侧外壁固定连接设有距离监测机构的控制器,同时桌板一侧设置有第一矫正机构,两端一侧均设置带有第二矫正机构的调节机构。

距离监测机构包括控制器和监测器,能够检测使用者的用眼距离并进行示警,矫正机构包括连接块、海绵垫和移动板,能够矫正使用者不当坐姿,调节机构包括旋钮和移动块,能够调节矫正机构调整使用者的位置。

三、功能与使用说明

1、具体功能

监测使用者胸部与桌板、眼睛与桌面的距离,在使用者距离不当导致检测异常时进行示警,提醒使用者调整距离。

通过设置第一矫正机构矫正胸部与桌板一侧的距离,通过设置第二矫正机构矫正眼睛距离桌板顶部距离,矫正使用者错误的坐姿,保护视力。

矫正使用者坐姿,降低颈部肌肉和韧带的负担以此减小颈椎压力,从而改善驼背和脊柱侧弯,预防胸腔疾病提高工作效率和桌面学习办公舒适&

扫码申请
职业领航师
千校选才官
找人才
千校人才小程序
找工作
万企岗位小程序
一键咨询
注册简历
查询
资料下载
返回顶部