微信公众号
手机网站
就业/招聘小程序
咨询电话: 010-66083178(工作日8:30-17:30) 请登录 注册
联系我们
联系人:王秀秀
010 -66083178
www.qxwq.org.cn 
北京市西城区广安门
内广义街5号广益大厦
大赛作品详情

作品名称:多动能组合卡盘
学校名称:黑龙江农业工程职业学院
参赛队伍:机械创新
参赛学生:郑建文 杨宇航 梁舒佶  
指导老师:孔凡坤 姜云龙  

详细说明

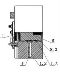
本实用新型涉及一种异形零件的三爪卡盘夹具,属于机床夹具技术领域。解决的是多数夹具无法夹持异形件的问题。包括卡盘、螺杆、螺母、Z向定位块、滑块、转杆和D型夹爪,所述卡盘的中心设置有Z向定位块,所述Z向定位块的中心设置有凸起,所述卡盘上面设置有转杆,所述卡盘上面加工有滑槽,滑块安装在滑槽内,滑块上设置有螺杆,D型夹爪的一端与转杆连接,D型夹爪的另一端加工有滑孔,螺杆穿过滑孔与螺母连接,所述D型夹爪上安装有传感器。本装置的每个D型夹爪均可根据零件的形状进行单独调节,适用于各种形状的零件。

找人才
千校人才小程序
找工作
万企岗位小程序
一键咨询
注册简历
查询
资料下载
返回顶部