微信公众号
手机网站
就业/招聘小程序
咨询电话: 010-66083178(工作日8:30-17:30) 请登录 注册
联系我们
联系人:王秀秀
010 -66083178
www.qxwq.org.cn 
北京市西城区广安门
内广义街5号广益大厦
大赛作品详情

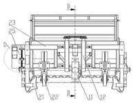
作品名称:自动化种植覆膜开孔设备
学校名称:黑龙江农业工程职业学院
参赛队伍:决策长空队
参赛学生:姜旭 张家宁 梁舒佶  
指导老师:闫玉蕾 张栋  

详细说明
目前覆膜开孔设备可分为即涂型覆膜机和预涂型覆膜机两大类。其适用范围宽,加工性能稳定可靠,是截至目前国内广泛使用的覆膜设备。预涂型覆膜机,无上胶和干燥部分,体积小、造价低、操作灵活方便,不仅适用大批量印刷品的覆膜加工,而且适用自动化桌面办公系统等小批量、零散的印刷品的覆膜加工,很有发展前途。而本产品为自动化种植覆膜开孔设备,大大节约了时间人力等问题,发展前景广阔。此项目属于农业机械技术领域,能大大的帮助农作进行播种工作
找人才
千校人才小程序
找工作
万企岗位小程序
一键咨询
注册简历
查询
资料下载
返回顶部