微信公众号
手机网站
就业/招聘小程序
咨询电话: 010-66083178(工作日8:30-17:30) 请登录 注册
联系我们
联系人:王秀秀
010 -66083178
www.qxwq.org.cn 
北京市西城区广安门
内广义街5号广益大厦
大赛作品详情

作品名称:智能农机施肥装置
学校名称:黑龙江农业工程职业学院
参赛队伍:凯翔队
参赛学生:张鸾儿 刘宇欣 姚霁庭  
指导老师:闫玉蕾 韩旭  

详细说明

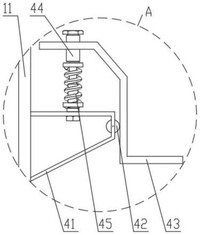
本实用新型涉及农机施肥装置, 属于农业机械技术领域。解决的是施肥作业时劳 动强度大, 施肥不均匀, 效率低的问题。包括肥料箱和连接机构, 所述肥料箱的 右侧壁设置有连接机构, 所述连接机构包括固定架、减磨轮、连接架、伸缩杆和 弹簧,所述固定架的左侧与肥料箱的右侧壁焊接,固定架的右侧设置有减磨轮, 固定架的上侧通过伸缩杆与连接架的左端连接, 伸缩杆上套装有弹簧, 连接架的 竖直段与固定架通过减磨轮建立安装。成本低, 减小劳动强度, 同时在施肥过程 中出现不平整路面时, 可以通过伸缩杆、弹簧进行减震, 防止因颠簸造成的施肥

不均匀,提高施肥质量和效率,节约种植成本。

找人才
千校人才小程序
找工作
万企岗位小程序
一键咨询
注册简历
查询
资料下载
返回顶部