微信公众号
手机网站
就业/招聘小程序
咨询电话: 010-66083178(工作日8:30-17:30) 请登录 注册
联系我们
联系人:王秀秀
010 -66083178
www.qxwq.org.cn 
北京市西城区广安门
内广义街5号广益大厦
大赛作品详情

作品名称:智能门禁系统
学校名称:沈阳工学院
参赛队伍:天天向上
参赛学生:邵伟豪 高仁策  
指导老师:税歆 耿欣  

详细说明

创新点

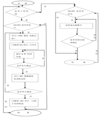
稳定性:具备报警功能,一氧化碳检测以及系统的延时关门和重置关门时间功能,都能保护人员安全通过。

流通性:门禁系统设有启动按钮SB7,开门或关门的状态下关闭自动门,从而达到人员自由出入,解决了人流量大的时候造成道路拥堵情况。

安全性:周末休息时可转为门禁模式,当有人靠近,光电检测开关感应,激活保安室的警报系统通知保安,而不进行门的开关,系统的延时关门和重置关门时间功能,都能保护安全通过,为安全做好了保障。

门禁系统功能实现.docx
找人才
千校人才小程序
找工作
万企岗位小程序
一键咨询
注册简历
查询
资料下载
返回顶部