微信公众号
手机网站
就业/招聘小程序
咨询电话: 010-66083178(工作日8:30-17:30) 请登录 注册
联系我们
联系人:王秀秀
010 -66083178
www.qxwq.org.cn 
北京市西城区广安门
内广义街5号广益大厦
大赛作品详情

作品名称:新型机械举升装置
学校名称:山西工程技术学院
参赛队伍:雾里看花
参赛学生:邱海峰 程榆航 杨媛媛  
指导老师:梁丽君 周丽萍  

详细说明

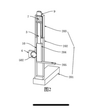
通过液压缸和辅助驱动组件能够通过两种方式同时控制举升板移动,因此能够极大地提高举升时的稳定性和安全性
1、
装置通过液压缸和辅助驱动组件能够通过两种方式同时控制举升板移动,因此能够极大地提高举升时的稳定性和安全性。

2、装置通过控制油缸能够推动举升组件移动,从而能够调节两侧举升组件之间的距离,因此能够根据车身大小进行调节。

找人才
千校人才小程序
找工作
万企岗位小程序
一键咨询
注册简历
查询
资料下载
返回顶部