微信公众号
手机网站
就业/招聘小程序
咨询电话: 010-66083178(工作日8:30-17:30) 请登录 注册
联系我们
联系人:王秀秀
010 -66083178
www.qxwq.org.cn 
北京市西城区广安门
内广义街5号广益大厦
大赛作品详情

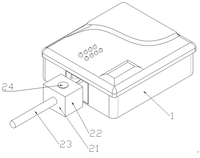
作品名称:基于红外吸收原理的非接触式酒精度检测装置
学校名称:兰州工业学院
参赛队伍:精制工坊
参赛学生:马陇鹏 陈奕霖 魏丹丹  
指导老师:胡玫 彭琳茹  

详细说明

随着工业化的快速发展,人们的生活水平逐渐提高,在日常生活和宴会中饮用白酒的次数也越来越多,但伴随而来的假酒、灌装酒等问题也越来越严重。尤其是无法辨识的人们深受其害。人们也逐渐意识到假酒、灌装酒等问题的严重性,开始注重白酒的品牌和质量,政府也对此类问题展开治理工作,酒精度的检测便是其中之一。但是目前使用频率较高的检测酒精度的方法只有酒精计检测,而且存在着操作复杂、耗时长的致命缺点。

为了解决这一问题,我们基于红外吸收原理,采用红外线通过不同浓度的酒精溶液折光率不同的方法,使用光照强度传感器采集光强并通过I²C协议传输给STC89C52单片机,然后通过LCD1602显示屏观察光照强度大小手段,得出了不同酒精浓度会影响光照强度的结果和重要的结论。鉴于此研究并设计了一种能够准确快速检测酒精度的非接触式酒精度检测装置。

找人才
千校人才小程序
找工作
万企岗位小程序
一键咨询
注册简历
查询
资料下载
返回顶部