微信公众号
手机网站
就业/招聘小程序
咨询电话: 010-66083178(工作日8:30-17:30) 请登录 注册
联系我们
联系人:王秀秀
010 -66083178
www.qxwq.org.cn 
北京市西城区广安门
内广义街5号广益大厦
大赛作品详情

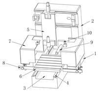
作品名称:一种防尘型的铣削装置
学校名称:齐齐哈尔工程学院
参赛队伍:未来之星
参赛学生:梁晋军 张佳柠 许曼  
指导老师:张超群 逯恒良  

详细说明
这一杰出的创新作品代表了防尘型铣削装置领域的顶尖科技和高端工程设计。它融合了先进的设计原理和方案,旨在满足高精度工业制造和精密机械加工的需求。通过创新的机构和结构,它有效减少了尘屑产生和设备附着,提高了工作环境的清洁度和设备的稳定性,为生产效率提供了无与伦比的支持。这一杰出的创新作品代表了防尘型铣削装置领域的顶尖科技和高端工程设计。
找人才
千校人才小程序
找工作
万企岗位小程序
一键咨询
注册简历
查询
资料下载
返回顶部