微信公众号
手机网站
就业/招聘小程序
咨询电话: 010-66083178(工作日8:30-17:30) 请登录 注册
联系我们
联系人:王秀秀
010 -66083178
www.qxwq.org.cn 
北京市西城区广安门
内广义街5号广益大厦
大赛作品详情

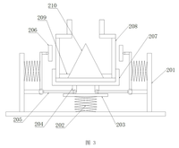
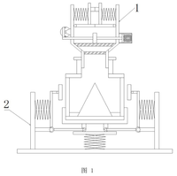
作品名称:一种化工用新型物料筛选机
学校名称:山东理工大学
参赛队伍:ChemGPT
参赛学生:刘欣覃 吴晓苒 王俊杰  
指导老师:王永振  

详细说明

化工设备是化学工业生产中所用的机器和设备的总称。化工生产中为了将原料加工成一定规格的成品,往往需要经过原料预处理、化学反应以及反应产物的分离和精制等一系列化工过程,实现这些过程所用的机械,常常都被划归为化工设备。

随着社会的不断发展和进步,化工给我们带来的用品在我们的日常生活中也变的越来越常见,作为化工原料加工的第一步,化工物料的筛选最为重要,但是常见的化工物料筛选在对于物料收集时,没有固定装置,很容是使得在物料收集时,由于操作不当,使得装置倾倒,从而使得化工原料产生浪费,所以现在市面上亟需一种化工用新型化工物料筛选机,来解决上面提到的传统的筛选装置不能固定的问题。

找人才
千校人才小程序
找工作
万企岗位小程序
一键咨询
注册简历
查询
资料下载
返回顶部