微信公众号
手机网站
就业/招聘小程序
咨询电话: 010-66083178(工作日8:30-17:00) 请登录 注册
联系我们
联系人:王秀秀
010 -66083178
www.qxwq.org.cn 
北京市西城区广安门
内广义街5号广益大厦
大赛作品详情

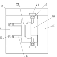
作品名称:一种物联网报警护栏
学校名称:齐齐哈尔工程学院
参赛队伍:小强网联
参赛学生:文绍达 尹思文 李治泽  
指导老师:邓敏  

详细说明
本实用新型产品公开了一种物联网报警护栏,涉及物联网技术领域,包括护栏机构,所述护栏机构的两端固定连接有组合机构,所述护栏机构的表面固定连接有报警机构。提供一种物联网报警护栏,采用LED灯带、LED彩灯、压力传感器、警报灯、蜂鸣器之间的相互配合,通过使用的过程中当有人翻越护栏时,翻越人员手臂支撑护栏,护栏受力使固定杆压动弹簧一进行收缩,同时对压力传感器进行施力。
找人才
千校人才小程序
找工作
万企岗位小程序
一键咨询
注册简历
查询
资料下载
返回顶部