微信公众号
手机网站
就业/招聘小程序
咨询电话: 010-66083178(工作日8:30-17:00) 请登录 注册
联系我们
联系人:王秀秀
010 -66083178
www.qxwq.org.cn 
北京市西城区广安门
内广义街5号广益大厦
大赛作品详情

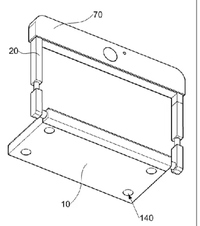
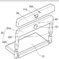
作品名称:汽车智享——智能化定位器停车锁
学校名称:南昌理工学院
参赛队伍:闪闪红星
参赛学生:彭小雁 董璐婷  
指导老师:胡硕利 郭鹏飞  

详细说明
集围绕车牌自动识别技术,车辆定位系统技术为一体的技术,更好更快地解决社会需求可以控制配套地锁,授权分享,多人使用,畅享智能车位。旨在为汽车用户提供优质、高效、安全的专属服务。我们通过建立一套基于移动互联网和人工智能技术的系统,实现用户信息化管理和服务智能化,更好地为用户提供定制化服务。此外,我们将通过车辆定位和大数据分析建立用户行为和需求的画像,为用户提供个性化建议,提高服务质量和用户体验。产品特色1.可以实现车辆管理智能化升级,为用户提供更为便捷的汽车服务2. 具备先进的定位技术和智能化处理技术,可以提供高质量的汽车服务3. 作为新兴的互联网+汽车服务行业,市场空间与机遇巨大4. 车载模块及录音、定位找车、打开私家车位地锁功能为一体,一物多用
找人才
千校人才小程序
找工作
万企岗位小程序
一键咨询
注册简历
查询
资料下载
返回顶部