微信公众号
手机网站
就业/招聘小程序
咨询电话: 010-66083178(工作日8:30-17:00) 请登录 注册
联系我们
联系人:王秀秀
010 -66083178
www.qxwq.org.cn 
北京市西城区广安门
内广义街5号广益大厦
大赛作品详情

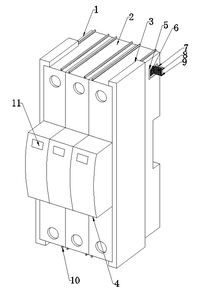
作品名称:便于维护的光伏变电保护器
学校名称:邯郸学院
参赛队伍:研梦团队
参赛学生:张颢腾 苗钊源 张子扬  
指导老师:李培英  

详细说明
       随着国家气象防雷减灾相关法规的建立,特别是一些行业法规的引导和实施,国内浪涌保护器市场发展步入快车道,过去的20年行业经过了爆发式增长。并且我国雷电防护行业处于快速发展的阶段,行业内企业规模普遍较小,市场集中度不高,竞争格局比较分散。由于不同的行业对应用环境因此,为了顺应市场发展,一种新型光伏变电保护器应愿而生,它的结构更加合理方便,材料成本也较传统保护器更低,更加便于安装和防止浪费,提高了使用寿命与安全稳定性。
       我们的新型光伏变电保护器设置有光伏箱变电涌保护器主体的连接装置,通过底座之间的卡扣连接实现多个保护器的并列设置方便安装;该新型光伏变电保护器设置有电涌保护模块密封装置,通过密封装置和底座之间通过滑槽连接构成密封整体结构避免外界灰尘雨水等进入保护器的触发结构导致电涌保护器损害失效;该新型光伏变电保护器设置有便捷拆下结构方便对电涌保护模块拆开进行检修避免因外界因素导致保护器误判进而更换保护器造成浪费。
找人才
千校人才小程序
找工作
万企岗位小程序
一键咨询
注册简历
查询
资料下载
返回顶部