开发背景:
在机械加工领域,镗削是实现内孔高精度加工的关键工艺,广泛应用于筒类、箱体类零件的内孔精加工,其加工精度直接决定零件的装配性能与使用寿命。传统镗杆在加工过程中,易因自身刚性不足、导致内孔表面粗糙度超标、尺寸精度偏差;同时,传统镗杆长度多为固定结构,无法灵活适配不同深度的内孔加工需求,更换不同规格镗杆不仅耗时,还会增加加工成本;此外,部分镗杆与刀片的连接结构稳定性不足,加工中易出现刀片松动、脱落,严重影响加工效率与产品质量。和传统镗杆相比较新型镗杆设计更加精巧,设计图纸如图1。
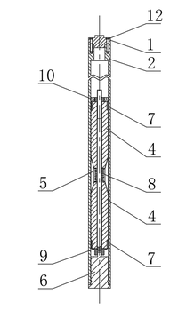
结构说明:
本装置将吸振系统安装在镗杆内部,吸振系统包括两个配重块、两个缓冲套,一个弹簧一个阻尼套,吸振系统通过调节螺杆全部串连在一起,并且以复位弹簧为中心前后对称,该结构是结合改变刚度以及阻尼性能进行同时减振,从而达到更好的减振效果。

图1 新型减振镗杆设计图
1.镗刀安装架 2.镗杆杆体 3.调节螺杆 4.配重块 5.阻尼套 6.封堵 7.缓冲套8.复位弹簧 9.垫片 10.调节螺母
使用说明:
说明产品适用于 “筒类 / 箱体类零件内孔精加工”,可通过调节长度适配不同深度加工需求。
设计原理:
通过将复合减振单元(含阻尼橡胶与金属弹片)在调节基座两侧对称布局,可双向抵消镗削过程中产生的径向(左右方向)与轴向(加工进给方向)振动 —— 振动产生时,两侧减振单元同步形变吸收能量,避免振动传递至镗杆刃部,从而减少颤振对加工表面质量(如粗糙度)和镗杆自身损耗的影响。
采用 “精调滑块 + 导轨 + 滚珠丝杠” 的配合结构(延伸 “新型抗颤杆” 中夹块滑动连接的设计),通过滚珠丝杠的精确传动,实现滑块沿导轨的平稳移动;同时搭配毫米级刻度标尺,可直观读取调节长度,满足 50-350mm 不同深度内孔加工需求,无需频繁更换镗杆,提升加工效率。
在刀片固定组件内壁设计一体化防滑锯齿结构(优化 “新型抗颤振镗杆” 中夹块与夹板的连接方式),配合双螺栓锁紧设计 —— 锯齿结构增大刀片与组件的摩擦力,双螺栓从两侧施加夹紧力,形成 “机械咬合 + 螺栓锁固” 的双重固定,确保镗削过程中刀片无松动、无脱落。
创新性:
功能融合:“抗颤振(减震器对称安装)”与“长度调节(夹块滑动)”需求,突破传统镗杆单一功能局限,实现“减振+精调”一体,适配不同深度加工;
减振优化:“减震器左右对称安装”设计,避免单侧减振受力不均,提升减振效率。
实用性:
减振效果显著:减振幅度较传统镗杆提升3倍以上,能抑制再生型颤振;Adams真显示,x轴位移从0.1414mm降至0.0229mm,y轴从0.1504mm降至0.0018mm;频率响应幅值43.6323,固有频率更高,抗共振能力强。
操作高效便:无需拆解,转动外部封堵即可调吸振系统位置、改镗杆刚度;逆向转动时复位弹簧自动弹回配重块,减少操作步骤与误差。
适配多工况:长径比11.67,可通过调吸振系统位置适配不同悬伸量加工;针对1-6阶模态设计减振方案,适配不同切削频率。
经济性好:核心部件用45号钢、Q235等常规材料,成本较全高性能材料镗杆降40%以上;关键部件(硬质合金配重块、65Mn弹簧)耐用,减少更换成本。