微信公众号
手机网站
就业/招聘小程序
咨询电话: 010-66083178(工作日8:30-17:00) 请登录 注册
联系我们
联系人:王秀秀
010 -66083178
www.qxwq.org.cn 
北京市西城区广安门
内广义街5号广益大厦
大赛作品详情

作品名称:面向微剂量药物的超声悬浮无容器运输器设计
学校名称:山东理工大学
参赛队伍:挑战者队
参赛学生:张慧子 邹昕澎 徐佳鹏  
指导老师:宋汝君  

详细说明

在药物行业中,稀少昂贵的药物在运输存储过程中使用普通容器会出现部分药品粘连在容器壁上等问题,不仅造成浪费,还导致容器上的杂质污染药物。无容器环境对微剂量药物的运储尤为重要。通过对比目前的悬浮技术的利弊,我们发现声悬浮技术最符合我们的预期标准。我们基于无容器超声悬浮技术,致力于设计研发一项适用于药物运输储存的装置,来消除运输储存过程中带来的影响。

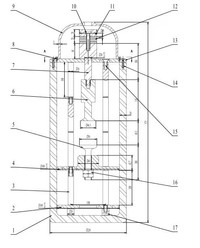
超声驻波悬浮运储系统由超声驻波悬浮运储器和超声波发生器(也就是激励电源)两个部分组成。其中,超声驻波悬浮运储器的核心部分由超声换能器(包括后端盖、压电振子、前端盖和预紧螺栓)、变幅杆(包括一级变幅杆和二级变幅杆)、反射端(包括凹球面、固定装置和调节装置)组成。换能器部分将超声发生器提供的特定频率输出功率转换成振动形式的机械能,经由变幅杆将振幅放大后,最终由发射端以超声波的形式向空间区域(我们称之为谐振腔)辐射。

本设计旨在利用超声悬浮技术实现微剂量或造价高昂的药物无容器运输和储存,为微剂量药物提供一种可持续高效、清洁的运储方式,避免药品因残留在容器内造成的损失或因容器内可能存在的杂质造成的污染。传统的悬浮装置由于反射端材料的不规则、不均匀和能量逸出会使超声波有一定的能量损耗,从而降低了驻波声场的稳定性和悬浮能力,传统悬浮装置不能保证悬浮目标的稳定性和位移。因此本设计面对微剂量药物展开研究新型悬浮装置, 提高驻波声场的悬浮稳定性并实现微剂量药物远距离移动运输。提高超声悬浮技术的应用能力。

扫码申请
职业领航师
千校选才官
找人才
千校人才小程序
找工作
万企岗位小程序
一键咨询
注册简历
查询
资料下载
返回顶部