微信公众号
手机网站
就业/招聘小程序
咨询电话: 010-66083178(工作日8:30-17:00) 请登录 注册
联系我们
联系人:王秀秀
010 -66083178
www.qxwq.org.cn 
北京市西城区广安门
内广义街5号广益大厦
大赛作品详情

作品名称:多功能餐盘回收机
学校名称:西南交通大学希望学院
参赛队伍:勇往直前
参赛学生:张政 李娜 范涛  
指导老师:陈佳  

详细说明
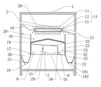
  多功能餐盘回收机是一款用餐盘回收带动餐饮垃圾回收的产品。使用者直接扫描液晶显示屏上的二维码进行身份识别,然后将餐盘和剩余食物一起倒入投放口,完成投放后系统根据用餐者贡献的食物残渣量将积分返还给使用者,积分可以用于小程序绿色商品换购,增强人们的绿色环保理念。回收机安装了监控装置和LED屏既可以显示机内储存的食物残渣和泔水油量,也可以播放广告视频、环保视频等,让人们了解更多餐饮垃圾回收知识,也可用于宣传食堂餐饮特色和结合当下疫情播放视频,提高就餐人数并且提醒人们勤洗手、戴口罩,回收机还可以显示用餐者每次浪费的食物量,提醒人们节约粮食。回收机背面连接着传送带,将初步清理过的餐盘传送到后厨洗碗机内。多功能餐盘回收机不仅可以实现对餐盘的统一分类回收,还可以将投入进来的食物进行回收,将食物残渣、油、水进行分类化过滤分离,最后将食物残渣和泔水油进行储存。同时餐盘回收机与洗碗机通过传送带进行连接进行一体化服务,智能服务和清洁快捷方便相联系。餐饮回收企运走食物残渣和泔水油后食堂或者餐饮店可获得部分收入。
扫码申请
职业领航师
千校选才官
找人才
千校人才小程序
找工作
万企岗位小程序
一键咨询
注册简历
查询
资料下载
返回顶部