微信公众号
手机网站
就业/招聘小程序
咨询电话: 010-66083178(工作日8:30-17:00) 请登录 注册
联系我们
联系人:王秀秀
010 -66083178
www.qxwq.org.cn 
北京市西城区广安门
内广义街5号广益大厦
大赛作品详情

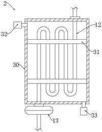
作品名称:“追本溯源”-国内首创智能中药灌肠器
学校名称:齐齐哈尔工程学院
参赛队伍:star志愿服务团队
参赛学生:于子涵 祝宇昕 贾朝然  
指导老师:孙畅 邱瀚宁  

详细说明
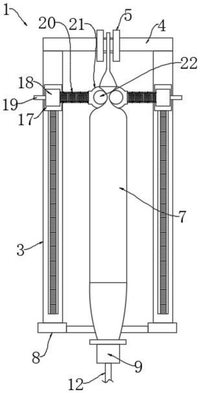
在医疗领域,灌肠作为一种重要的治疗和诊断手段,有着广泛的应用。然而,传统的灌肠器存在操作不便、准确性欠佳等问题。为了改善这一现状,我们的研发团队经过不懈努力,成功推出了这款具有划时代意义的智能灌肠器。
 
二、产品核心优势
 
1. 智能化操作: 配备先进的传感器和控制系统,能够精确控制灌肠液的流量、温度和压力,确保治疗的安全和有效性。用户只需简单设置参数,智能灌肠器即可自动完成灌肠过程,大大减轻了医护人员的工作负担。
2. 国家专利技术: 我们的智能灌肠器拥有两项国家专利,分别涉及中药灌肠器和一种灌肠器。这些专利技术为产品的卓越性能提供了坚实的保障。例如,其中一项专利技术使得灌肠器能够根据患者的具体情况自动调整灌肠方案,实现个性化治疗。
3. 学术支持 我们的研发团队还发表了一篇关于智能灌肠器的高质量论文,为产品的科学性和可靠性提供了理论依据。这篇论文在学术界引起了广泛关注,进一步证明了我们产品的创新性和价值。
4. 荣誉奖项: 智能灌肠器荣获省级三等奖一项,这是对我们产品的高度认可。这个奖项不仅是对我们团队努力的肯定,也证明了我们的产品在市场上具有强大的竞争力。
三、产品使用场景
1. 医院临床治疗
在各类外科手术前,智能灌肠器可高效地为患者进行肠道准备,确保手术的顺利进行。其精准的流量和压力控制,能有效减少患者的不适感,提高手术的安全性。对于患有肠道疾病的患者,如便秘、肠炎、肠梗阻等,智能灌肠器可根据病情的不同,制定个性化的灌肠方案,缓解症状,促进康复。在重症监护病房,对于一些无法自主排便的患者,智能灌肠器能够及时清理肠道,减少毒素的吸收,为患者的治疗提供有力支持。
2. 康复机构
为长期卧床或行动不便的老人及康复患者提供便捷的肠道护理服务。其智能化的操作和舒适的设计,使得护理人员能够轻松地为患者进行灌肠,提高护理质量。
可以定期为患者进行肠道清洁,预防便秘等肠道问题的发生,提高患者的生活质量。3. 家庭护理
 对于一些需要长期进行肠道护理的患者,智能灌肠器可以在家中用,方便快捷。配备详细的使用说明和远程指导服务,确保患者能够正确使用。如患有慢性便秘的患者,可在家中自行进行灌肠,缓解症状,减少就医次数。
四、未来发展展望
我们相信,“追本溯源”-国内首创智能灌肠器将为医疗领域带来一场革命。未来,我们将继续加大研发投入,不断完善产品性能,拓展产品应用领域。同时,我们也将积极与国内外医疗机构和科研机构合作,共同推动智能医疗设备的发展。
 
 
找人才
千校人才小程序
找工作
万企岗位小程序
一键咨询
注册简历
查询
资料下载
返回顶部